| 索引号: | 669474259/202012-00042 | 信息分类: | 被征地农民养老保险待遇办理 |
|---|---|---|---|
| 内容分类: | 发文日期: | 2020-12-14 | |
| 发布机构: | 烈山镇 | 生成日期: | 2020-12-14 |
| 生效日期: | 有效 | 废止时间: | 暂无 |
| 文 号: | 关键词: | ||
| 内容概述: | |||
| 索引号: | 669474259/202012-00042 |
|---|---|
| 信息分类: | 被征地农民养老保险待遇办理 |
| 内容分类: | |
| 发文日期: | 2020-12-14 |
| 发布机构: | 烈山镇 |
| 生成日期: | 2020-12-14 |
| 生效日期: | |
| 废止时间: | 暂无 |
| 文 号: | |
| 关键词: | |
| 内容概述: |
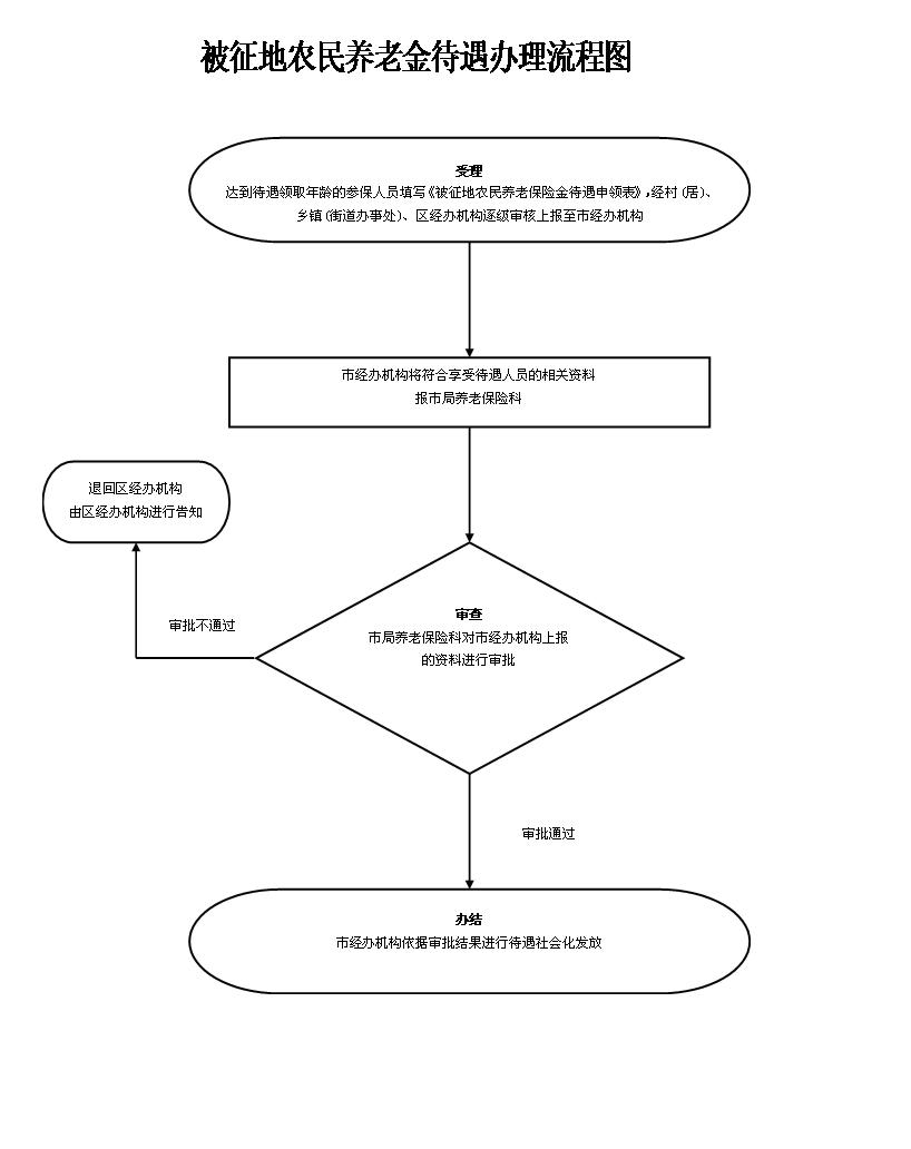
被征地农民养老保险待遇办理流程
皖公网安备 34060402000001号