繁
长辈版
网站无障碍
加入收藏
首页
信息公开目录
信息公开指南
信息公开年报
信息公开制度
依申请公开
监督保障
您的位置:
首页
>
区农业农村水利局(乡村振兴局)
>
权责清单和动态调整情况
索
引
号:
003092342/202304-00025
组配分类:
权责清单和动态调整情况
主题分类:
农业、林业、水利
发布日期:
2026-02-06
发布机构:
区农业农村水利局(乡村振兴局)
文
号:
名
称:
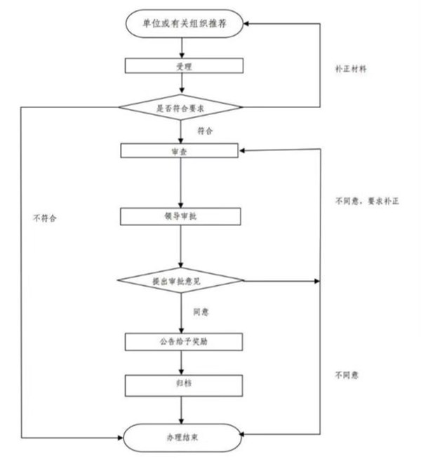
烈山区农业农村水利局行政奖励类流程图
有效性:
关
键
词:
成文日期:
烈山区农业农村水利局行政奖励类流程图
字体大小:【
大
中
小
】
浏览次数:
信息来源: 区农业农村水利局(乡村振兴局)
发布时间:2026-02-06 10:25