繁
长辈版
网站无障碍
加入收藏
首页
信息公开目录
信息公开指南
信息公开年报
信息公开制度
依申请公开
监督保障
您的位置:
首页
>
区科技工业信息化局
>
权责清单和动态调整情况
索
引
号:
057044848/202304-00012
组配分类:
权责清单和动态调整情况
主题分类:
综合信息
发布日期:
2026-03-11
发布机构:
区科技工业信息化局
文
号:
名
称:
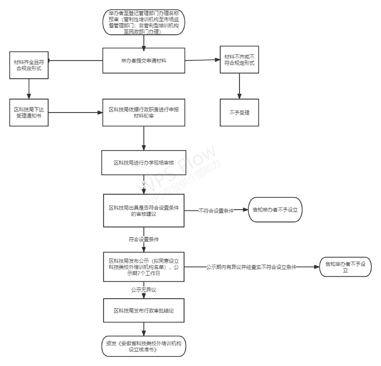
中等及以下学校和其他教育机构设置审批(科技类)流程图
有效性:
关
键
词:
成文日期:
中等及以下学校和其他教育机构设置审批(科技类)流程图
字体大小:【
大
中
小
】
浏览次数:
信息来源: 区工业和信息化局
发布时间:2026-03-11 10:32